Richard Padilla
Richard Padilla's Articles

IGN Launches Redesigned App for iOS with Custom Feeds and AirPlay Support

Apple to Open Two-Story Retail Store in Shanghai's New IAPM Mall

Amazon Pushes Mandatory Update for Kindle iOS App Ahead of iOS 7 Launch

Microsoft Launches 'Xbox Music' for iPhone

iOS Game 'Dots' Adds New 'Gravity Mode' for One Week, Partners with General Electric

Apple Sued Over Failing to Provide All Episodes of 'Breaking Bad' Season 5 for Season Pass Purchasers

Aspyr to Drop Game Support for Snow Leopard as OS X Mavericks Launch Nears

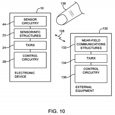
Apple Patent Application for Combination Fingerprint Scanner and NFC Circuitry Surfaces

Gameloft Releases Trailer for 'Thor: The Dark World', Coming in November

China Unicom and China Telecom to Start Pre-Orders for iPhone 5S and iPhone 5C Next Week

Social Network Path Updating iOS App with Private Sharing, 'Inner Circle', Premium Membership

Konami Launches 'Star Wars Force Collection' Card Game for iOS

2K and Lucid Games Launch '2K Drive' Exclusively For iOS

Philips Announces 'M1X-DJ' Music System for iOS Devices

Chinese Labor Group Alleges Major Labor Violations at Apple iPhone 5C Supplier Jabil Circuit [Update: Apple to Investigate]

Japanese Manufacturers Ramp Up Production as iPhone 5S, iPhone 5C Launches Loom

Canadian Carrier Telus to Discontinue 32 GB and 64 GB iPhone 5 Models on September 28

New Video of Assembled iPad 5 Enclosure Shows Smaller iPad Mini-Inspired Design

Apple Issues Invitations for September 11 Beijing Media Event as China Mobile Speculation Heightens [Updated]
















